Wiring Diagrams Give Information About
Wiring diagram for exterior lights. •more information there is a lot of written information (such as component ids) on

I need a wiring diagram for a 2008 Chevy Silverado I'm trying to figure out which wire is the
Wiring diagrams give information about group of answer choices.

Wiring diagrams give information about. In some cases, the schematic symbol and the wiring diagram symbol are the same. A simplified conventional pictorial representation of an electrical circuit. Wiring diagram book a1 15 b1 b2 16 18 b3 a2 b1 b3 15 supply voltage 16 18 l m h 2 levels b2 l1 f u 1 460 v f u 2 l2 l3 gnd h1 h3 h2 h4 f u 3 x1a f u 4 f u 5 x2a r power on optional x1 x2115 v.
Socket outlet wiring amazing procedure what is socket outlet socket outlet is a device with outlet. Mechanics use car wiring diagrams, sometimes referred to as schematics, to show them how automotive manufacturers construct circuits. A wiring diagram is a streamlined standard pictorial depiction of an electrical circuit.
It shows how the electrical wires are interconnected and can also show where fixtures and components may be connected to the system. Login or create an account. Wiring diagrams provide circuit road maps for individual circuits or systems on the vehicle.
Ask for the wiring diagram for a maf sensor on a 2000 toyota camry, without any other information and there is no way anybody can help you. The method used for developing wiring diagrams is the same as the method used for installing new equipment. So you see, there are over 17 pages of car wiring diagrams just dealing with engine performance sensors for this one year, make, model.
(with capacitor marking and installation) single phase electrical wiring installation in home according to nec & iec. In fact, a typical service manual will contain dozens of these schematics that can help with proper diagnosis and repair. It contains detailed diagrams to help you complete your diy solar build as quickly as possible and is specifically made for camper vans and rvs.
It weighs only 2800 pounds. 1991 nissan 300zx 2dr coupe wiring information. On this page is a how to video some coworkers and i put together.
Pull the particular cable from the centre in the coil lift a new handful of coils. It shows the components of the circuit as simplified shapes and how to make the connections between the devices. Using the same example as above, the wiring diagram includes r1 from the schematic but, instead.
Get premium wiring diagrams that are available for your vehicle that are accessible online right now, purchase full set of complete wiring diagrams so you can have full online access to everything you need including premium wiring diagrams, fuse and component locations, repair information, factory recall information and even tsb's (technical service bulletins). Three way switch wiring diagrams. It ties into the common on the left switch (see image below).
A wiring diagram usually gives instruction roughly the relative slant and arrangement of devices and. The source power (black wire) is coming in from the left. Needs rear brakes cannot find parts or part numbers anywhere.
A wiring diagram usually gives more information about the Either way, our pdf is completely free. By clicking “yes, i agree”, you consent to the use of the.
In order to effectively use the wiring diagrams to diagnose and repair daimlerchrysler corporation vehicles, it Sx nissan 200 1983 2dr hatchback wiring. Room air cooler wiring diagram # 2.
A wiring diagram is a simple visual representation of the physical connections and physical layout of an electrical system or circuit. A wiring diagram is a simple visual representation of the physical connections and physical layout of an electrical system or circuit. Cookies are used on this website to give you the most relevant browsing experience by remembering your preferences and repeat visits.
Wiring of the distribution board (single phase supply from utility pole & energy meter to the consumer unit) room air cooler electrical wiring diagram # 1. Schematic and wiring diagrams are the written language of control circuits. Wiring diagrams for switches, outlets, ceiling lights, telephone, and more as posted on mrelectrician.tv.
Furthermore, wiring diagrams typically identify each component within a system by its part number and its serial number, including any changes that were made during the production run. Electrical drawings and schematics overview. You can copy our solar system 100% or simply use the diagrams as a guide for your own photovoltaic build.
Scroll down and find the nissan wire guide you need. Electrical drawings and schematics overview. Electrical wiring diagrams are included in most aircraft service manuals and specify information, such as the size of the wire and type of terminals to be used for a particular application.
When and how to use a wiring diagram 1 one will be inside the coach for your inside 12v stuff 2 youll have a 2nd 12v fuse box outside right behind the drivers front tire in that locked compartment. Many wiring diagrams also have a key that provides important information such as wire gauge and colors.
Wiring diagrams ____ motor connections. Download our solar wiring ebook pdf. Wiring diagrams are sometimes used to install new control circuits, ____ used for troubleshooting existing circuits.
For example how the horns are powered and connected to the controller on your steering wheel. It shows the components of the circuit as simplified shapes, and how to make the connections between the devices. Wiring diagrams for circuits use the same labels as the schematic.

Wiring Diagram Light Green Kaf Mobile Homes 21367

On my 94 f150 when I turn any turn signal on all my lights flash ( front and back) like the
Wiring Ceiling, Lights Professional Wiring Ceiling Lights Diagram, Adorable, Light, Chromatex

WIRING DIAGRAM, 1964 RIVIERA, 11x17, Color

Manual pages MX5 Manual Mazda MX5 (Mk4) 2015+

Manual pages MX5 Manual Mazda MX5 (Mk4) 2015+

Capacitor 4 Wire Motor Wiring Diagram Single Phase Motor Wiring Diagram With Capacitor

12+ Motorcycle Wiring Diagram Without Battery Motorcycle Diagram Motorcycle

Jackson Guitar Pickup Wiring Diagram Wiring Diagrams Seymour Duncan Seymour Duncan Guitar

CB450 Color wiring diagram (now corrected) Page 2
Jeep Yj Headlight Switch Wiring Diagram / Wiring Diagram For 1990 Jeep Wrangler Wiring Diagram

Vehicle Wiring Diagram for Android APK Download
Ceiling Fan Wiring Diagram Red Wire What Is The Blue Wire On A Ceiling Fan Ceiling Fan Wiring

Godown Wiring Diagram With 5 Light Godown Wiring Diagram Tunnel Wiring Circuit And Working

Jackson Guitar Pickup Wiring Diagram Wiring Diagrams Seymour Duncan Seymour Duncan Guitar
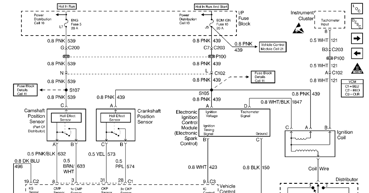
Technical Car Experts Answers everything you need ignition coil wiring diagram for 1997
1987 Kawasaki Bayou 300 Wiring Diagram I have a 1987 Kawasaki Bayou 300cc,2wheel drive.I was
